集团板块操作指南
一、集团菜单
管理员用户进入C端综合业务管理平台,可以看到在左侧菜单有集团,此集团菜单下为集团板块的主菜单,包含 “首页管理”“会员管理”“收藏管理”“评论管理”“消息管理”“商户管理” 六个展开项,点击各展开项可查看其下子功能菜单,覆盖集团板块从首页管理到商户管理的全流程操作入口。

二、集团配置
(一) 首页管理
属于集团板块首页管理模块,菜单包含 “首页配置”“领券专区”“公告资讯”“活动管理”“推荐管理” “页面装修”六个子项,点击可进入对应功能界面,用于配置首页、管理领券专区、公告资讯、活动及推荐内容以及优惠券装修页。

1、首页配置
属于集团板块首页管理模块的首页配置功能。顶部可按展示类型、名称筛选,有 “新增”“搜索”“重置” 按钮。列表展示名称、业务板块、展示类型、图片、跳转链接、排序、信息更新时间等,操作列有 “编辑”“删除” 功能。
展示类型分为banners和金刚区,分别用于展示在APP首页轮播图及金刚区按钮处,可更换图片,其他非必要无需修改

点击 “新增” 按钮,弹出页面,字段前有 * 标记的表示该字段为必填字段,页面包含展示类型、名称、图片、跳转类型(APP 内部链接、微信小程序、无跳转)、强制登录(是 / 否)、排序、备注,填写完成后点击 “确定” 按钮提交,点击 “取消” 按钮放弃操作。

APP端展示:

2、领券专区
属于集团板块首页管理模块的领券专区功能。顶部有 “新增” 按钮,列表展示图片名称、封面图、发布状态等,操作列有 “编辑”“上架”“删除” 功能。用于管理领券专区的图片和状态。

点击 “新增” 按钮,弹出页面,字段前有 * 标记的表示该字段为必填字段,页面包含图片名称、封面图、装修页面,填写完成后点击 “确定” 按钮提交,点击 “取消” 按钮放弃操作。

【上架、下架、状态说明】
-
发布状态=已下架或待上架,则操作栏可编辑,可删除,可上架。记录不在APP展示。
-
点击该记录上架按钮,发布状态变为已上架。
-
发布状态=已上架,则操作栏不可编辑,不可删除,可下架。只有上架状态才会在APP展示
APP端展示:

3、公告资讯
属于集团板块首页管理模块的公告资讯功能。顶部可按业务板块、公告名称筛选,有 “新增”“搜索”“重置” 按钮。列表展示公告名称、业务板块、封面图、发布时间、状态、置顶状态等,操作列有 “查看”“上架”“编辑”“删除” 功能。

点击 “新增” 按钮,弹出页面,字段前有 * 标记的表示该字段为必填字段,页面包含业务板块、公告名称、封面图、内容(富文本编辑),填写完成后点击 “确定” 按钮提交,点击 “取消” 按钮放弃操作。

APP端展示:

4、活动管理
属于集团板块首页管理模块的活动管理功能。顶部可按业务板块、活动名称筛选,有 “新增”“搜索”“重置” 按钮。列表展示活动名称、业务板块、活动时间、更新时间、状态、置顶状态等,操作列有 “查看”“编辑”“上架”“删除” 功能。

点击 “新增” 按钮,弹出页面,字段前有 * 标记的表示该字段为必填字段,页面包含业务板块、活动名称、封面图、活动时间、活动详情(富文本编辑),填写完成后点击 “确定” 按钮提交,点击 “取消” 按钮放弃操作。

APP端展示:

5、推荐管理
属于集团板块首页管理模块的推荐管理功能。顶部有 “热门推荐”“乐园游玩”“餐饮美食”“特色妆拍”“文创商品” 分类标签及 “新增” 按钮,可选商品和已选商品区域可按商户名称、商品名称筛选,有 “搜索”“重置” 按钮。用于管理不同分类下的商品推荐,操作列可进行商品选择和编辑。

APP端展示:

6、页面装修
属于集团板块首页管理模块的页面装修功能。展示页面列表,包含编号、预览图、页面名称、备注、创建时间,支持按页面名称、创建时间搜索,可进行新增、装修、编辑、删除操作,用于管理系统内的优惠券页面装修信息,操作时可点击对应页面的 “装修”“编辑”“删除” 按钮或 “新增” 按钮进行页面管理。

点击 “新增” 按钮,弹出页面,字段前有 * 标记的表示该字段为必填字段,页面包含页面名称、备注、预览图,填写完成后点击 “确定” 按钮提交,点击 “取消” 按钮放弃操作。

APP端展示,点击APP首页领券专区图片,进入装修后的优惠券领券页:

(二) 会员管理
属于集团板块会员管理模块,菜单包含 “优惠券配置”“会员等级权益”“成长值规则配置”“成长值记录管理”“会员信息管理”“领券用券管理”“权益信息管理” 七个子项,点击可进入对应功能界面,用于管理会员相关的优惠券、等级权益、成长值、信息及领券用券等事务。

1、优惠券配置
属于集团板块会员管理模块的优惠券配置功能。顶部可按券类型、券名称、发券时间、状态筛选,有 “搜索”“重置”“新增” 按钮。列表展示券活动号、券名称、券类型、发券主体类型、领券方式、售价、优惠类型、业务板块、面额、券数量、已领券数量、状态等,操作列有 “查看”“复制”“编辑”“手动发券”“停止发券” 功能。

点击 “新增” 按钮,弹出页面,字段前有 * 标记的表示该字段为必填字段,页面包含基础信息(券名称、券类型、发券主体类型、收款商户、领券方式、封面图、详细描述)、面额配置(优惠类型、优惠券面额、使用门槛)、领取配置(券数量、每人限领)、使用范围(使用场景、业务板块)、有效期配置(发券时间、用券时间、券有效期、过期自动退设置),填写完成后点击 “确定” 按钮提交,点击 “取消” 按钮放弃操作。

2、会员等级权益
属于集团板块会员管理模块的会员等级权益功能。列表展示会员等级名称、成长值范围、详细描述、更新时间等,操作列有 “编辑” 功能。

点击 “编辑” 按钮,弹出页面,字段前有 * 标记的表示该字段为必填字段,页面包含会员等级名称、会员图标、成长值范围、详细描述、权益列表(可新增、删除权益),填写完成后点击 “确定” 按钮提交,点击 “取消” 按钮放弃操作。

APP展示:

3、成长值规则配置
属于集团板块会员管理模块的成长值规则配置功能。包含成长值说明(可查看、编辑)和成长值规则列表。规则列表展示规则名称、详细描述、每日生效次数、成长值、状态、更新时间等,操作列有 “编辑”“失效” 功能。

点击成长值规则旁边的 “编辑” 按钮,弹出页面,字段前有 * 标记的表示该字段为必填字段,页面包含成长值说明(富文本编辑,可介绍成长值定义、获取方式等),填写完成后点击 “确定” 按钮提交,点击 “取消” 按钮放弃操作。

点击单条成长值记录的 “编辑” 按钮,弹出页面,字段前有 * 标记的表示该字段为必填字段,页面包含规则名称、详细描述、每日生效次数、成长值、状态(启用 / 禁用),填写完成后点击 “确定” 按钮提交,点击 “取消” 按钮放弃操作。

APP进入“我的”,点击如下按钮,弹出成长值规则:

4、成长值记录管理
属于集团板块会员管理模块的成长值记录管理功能。顶部可按操作时间、会员 ID、会员昵称筛选,有 “搜索”“重置”“手动调整成长值” 按钮。列表展示会员 ID、会员昵称、事件、获取成长值、当前成长值、操作人、操作时间等,操作列有 “查看” 功能。

点击 “手动调整成长值” 按钮,弹出页面,包含会员列表(可添加、移除会员)、调整类型(增加 / 减少)、成长值,填写完成后点击 “确定” 按钮提交,点击 “取消” 按钮放弃操作。

点击“查看”按钮,弹出成长值详情。展示操作时间、会员 ID、会员昵称、事件、获取成长值、当前成长值、操作人等信息,用于查看成长值变动的全维度详情,操作完成后点击 “关闭” 按钮退出详情页面。

5、会员信息管理
属于集团板块会员管理模块的会员信息管理功能。顶部可按会员昵称、手机号、注册时间、登录时间、会员等级筛选,有 “搜索”“重置” 按钮。列表展示会员 ID、会员昵称、头像、手机号、会员等级、状态、登录时间、注册时间等,操作列有 “详情” 功能。

点击“查看”按钮,弹出会员详情。展示会员基本信息(真实姓名、会员昵称、手机号、注册时间、最后登录时间)、账户信息(会员等级、成长值)、账户明细(收藏记录、优惠券),用于查看会员的全维度详情,支持分页查看收藏记录。

APP展示:

6、领券用券管理
属于集团板块会员管理模块的领券用券管理功能。顶部可按券号、券活动号、会员 ID、会员昵称、领券时间、核销时间、退款时间、券状态、领券方式、用券方式筛选,有 “搜索”“重置” 按钮。列表展示券号、券活动号、优惠券名称、会员 ID、会员昵称、券状态、领券方式、购券订单号、购券订单金额、用券方式、实际优惠金额、商品订单号、商品订单金额、核销员名称等,操作列有 “查看”“退款” 功能。

点击 “退款” 按钮,弹出页面,包含备注输入框,填写完成后点击 “确认” 按钮提交退款,点击 “取消” 按钮放弃操作。

点击“查看”按钮,弹出券使用详情。展示券号、券活动号、券活动名称、会员 ID、会员昵称、手机号、会员等级、实际优惠金额、券状态、领券方式、购券订单号、购券订单金额、用券方式、商品订单号、商品订单金额、核销员名称、核销商户名称、领券时间、创建时间、用券 / 核销时间、退款时间、备注等信息,用于查看券的全维度详情,操作完成后点击 “关闭” 按钮退出详情页面。

APP展示:

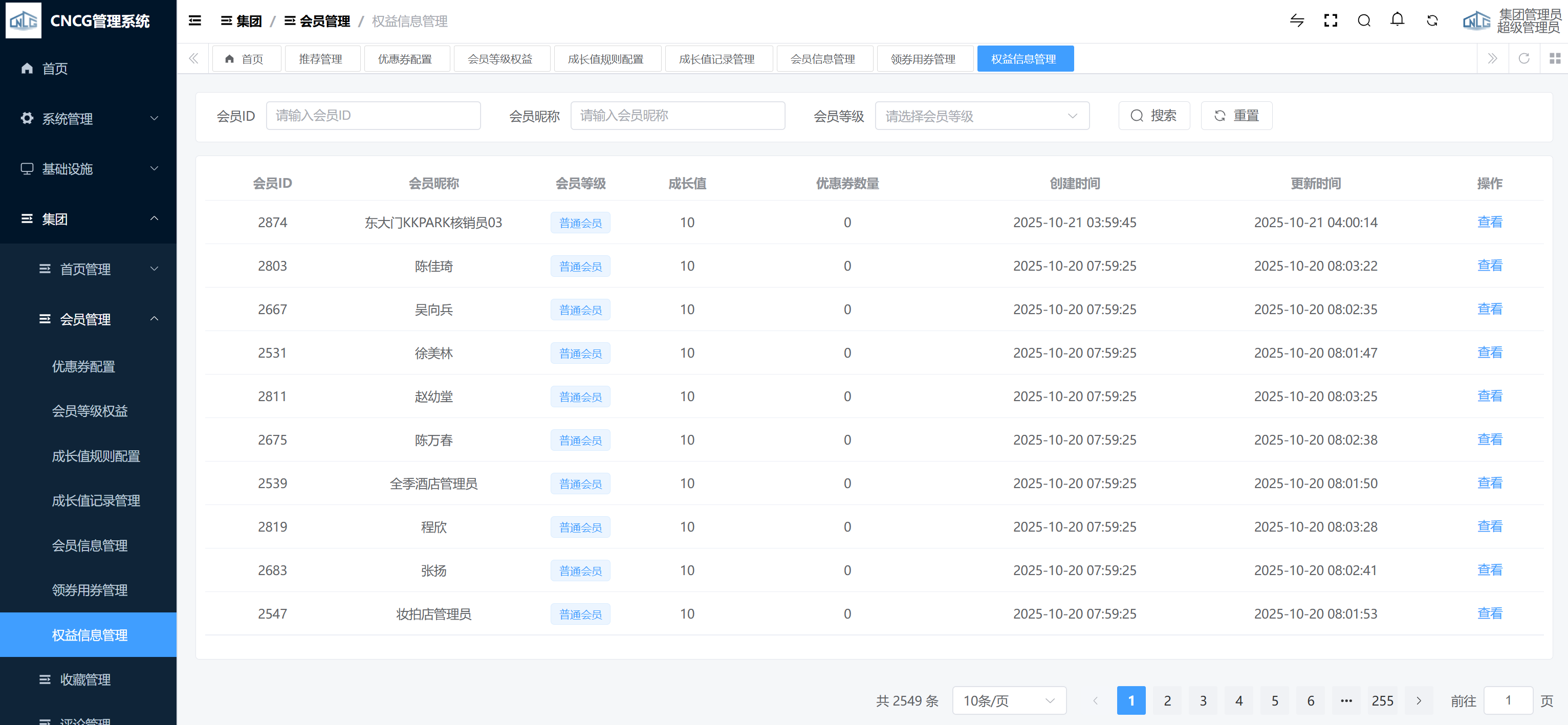
7、权益信息管理
属于集团板块会员管理模块的权益信息管理功能。顶部可按会员 ID、会员昵称、会员等级筛选,有 “搜索”“重置” 按钮。列表展示会员 ID、会员昵称、会员等级、成长值、优惠券数量、创建时间、更新时间等,操作列有 “查看” 功能。

点击“查看”按钮,弹出会员权益详情。展示会员基本信息(会员 ID、会员名称、姓名、手机号、会员等级、成长值)和优惠券列表(券类型、券活动名称、券活动号、优惠类型、业务板块、售价、面额、券数量、状态、有效期),用于查看会员权益的全维度详情,操作完成后点击 “关闭” 按钮退出详情页面。

(三) 收藏管理
属于集团板块收藏管理模块的收藏管理功能。顶部可按会员 ID、业务板块、收藏对象 ID、收藏名称筛选,有 “搜索”“重置” 按钮。列表展示会员 ID、会员昵称、业务板块、收藏对象 ID、收藏名称、收藏时间等,操作列有 “查看” 功能。

点击“查看”按钮,弹出收藏详情。展示会员 ID、会员名称(昵称)、业务板块、收藏对象类型、收藏对象 ID、收藏对象名称、收藏时间等信息,用于查看收藏的全维度详情,操作完成后点击 “关闭” 按钮退出详情页面。

APP展示:

(四) 评论管理
属于C端综合业务管理平台所有板块的评价管理功能,展示来自所有板块的评论。顶部设有评论内容输入框、评论等级下拉选择框、评论时间范围选择器,可进行搜索、重置操作。列表展示评论 ID、业务板块、评论对象 ID 及名称、会员 ID 及名称、评论等级、内容、时间等信息,操作列提供 “查看”“删除” 功能。

点击“查看”按钮,弹出评价详情。展示评价 ID、业务板块、评论对象 ID、评论对象名称、单号、会员 ID、会员名称、评论等级、评论内容、评论时间、评论图片等信息,用于查看评价的全维度详情,操作完成后点击 “关闭” 按钮退出详情页面。

APP分散到各个板块下,例如文旅店铺的评价展示:

(五) 消息管理
属于集团板块消息管理模块的消息管理功能。顶部可按消息 ID、会员 ID、消息类型、消息内容筛选,有 “搜索”“重置”“发消息” 按钮。列表展示消息 ID、消息类型、会员 ID、会员昵称、标题、内容、创建时间等,操作列有 “查看” 功能。

点击 “发消息” 按钮,弹出页面,包含会员选择(可添加、移除会员)、消息类型、标题、内容,填写完成后点击 “发送” 按钮提交,点击 “取消” 按钮放弃操作。

点击“查看”按钮,弹出消息详情。展示消息 ID、消息类型、会员 ID、会员昵称、创建时间、消息内容等信息,用于查看消息的全维度详情,操作完成后点击 “关闭” 按钮退出详情页面。

APP进入“我的”,点击“我的消息”,展示:

(六) 商户管理
属于集团板块商户管理模块,菜单包含“交易配置” “商户收款配置”“核销员配置” 三个子项,点击可进入对应功能界面,用于管理商户收款和核销员信息。

1、交易配置
属于集团板块商户管理模块的交易配置功能。用于设置售后的退款理由和退货理由,可选择 “不想要了”“商品质量问题”“商品描述不符” 等退款理由,以及 “不想要了”“商品质量问题”“商品描述不符”“商品错发漏发”“商品包装破损” 等退货理由,设置完成后点击 “保存” 按钮提交配置。

2、商户收款配置
属于集团板块商户管理模块的商户收款配置功能。顶部可按商户 ID、商户名称、收款账户、商户状态、是否发券主体筛选,有 “搜索”“重置” 按钮,可切换集团、物业、资产、文旅、酒店、地产业务板块。列表展示商户 ID、商户名称、业务板块、收款账户、商户状态、是否发券主体等,操作列有 “商户收款配置” 功能。

点击 “商户收款配置” 按钮,弹出页面,字段前有 * 标记的表示该字段为必填字段,页面包含商户名称、收款账户,填写完成后点击 “确定” 按钮提交,点击 “取消” 按钮放弃操作。

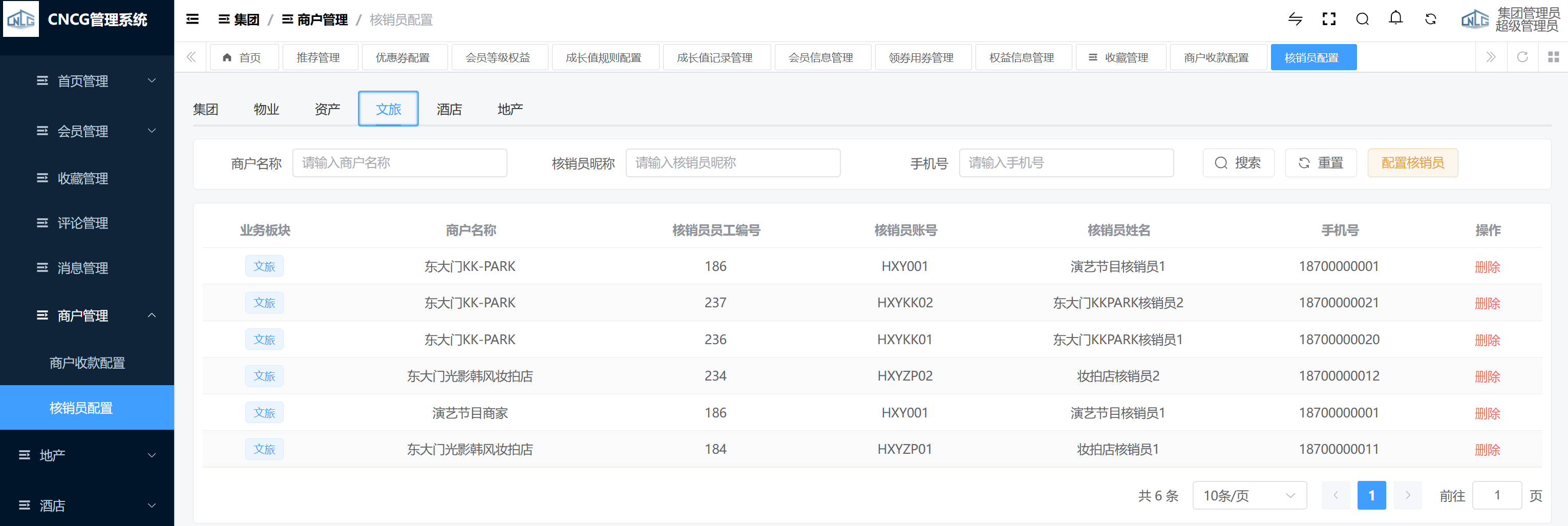
3、核销员配置
属于集团板块商户管理模块的核销员配置功能。顶部可按商户名称、核销员昵称、手机号筛选,有 “搜索”“重置”“配置核销员” 按钮,且可切换集团、物业、资产、文旅、酒店、地产业务板块。列表展示业务板块、商户名称、核销员员工编号、核销员账号、核销员姓名、手机号等,操作列有 “删除” 功能。

点击 “配置核销员” 按钮,弹出页面,字段前有 * 标记的表示该字段为必填字段,页面包含商户选择区(业务板块、商户名称)、核销员选择,填写完成后点击 “确定” 按钮提交,点击 “取消” 按钮放弃操作。

在登录页面,选择“商户登录”,使用核销员账号和密码登录,进入核销员页面:

当会员已登录APP后,支持点击设置,在个人中心切换到核销员系统:

进入核销员操作页面,支持点击扫码核销,进行核销,同时支持查看核销记录
